Hallo Ulli, wegen den Hochtönern vorne.
Ich habe heute extra Fotos gemacht:
Nachdem die Verkleidung ab ist sind am Hochtöner Schrauben mit Schlüsselweite 8.

Den Schlüssel habe ich mit Klebeband umwickelt dann kratzt nichts am wertvollen Plastik:
Der Korb vom Hochtöner hat drei Kerben, wenn das später wieder rein muss darauf achtren:
Hier die Rückseite inkl. Teilenummer und Hinweis auf Impedanz von vier Ohm:
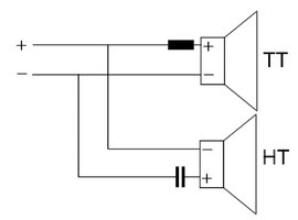
Damit Kommen wir zur Frequenzweiche:
Es ist ein 6-dB/Oct Hochpass mit dem Wert 4,7 µF. Das gibt eine Trennfrequenz von 8500 Hertz.

NICHT VERWECHSELN mit dem Bose Hochtöner, er trennt nämlch tiefer, 6,8 µF also rund 6 KHz. Darum klingt der Bose etwas frischer...
Also at ULLI56,
Wenn also ein anderer Hochtöner rein soll MUSS dort die mitgelieferte Weiche mit rein. Ein Betrieb ohne Weiche zerstört den Hochtöner schnell.
Viele Grüssle.